【方位解析】單段錘式破碎機設備及價格
【方位解析】單段錘式破碎機設備及價格
單段錘式破碎機設備擁有兩套串聯的轉子將物料輸送至破碎機后進行破碎,之后再由破碎機錘頭進行再次的細碎,錘破機粉碎腔里面的物料飛速碰撞,相互粉碎,形成錘粉料。詳細解答
詳細解答
單段錘式破碎機是礦山行業中為常見的礦山破碎設備,在破碎生產中由于能夠破碎中等硬度的石灰石等物料而得名石灰石重型錘式破碎機。工作中主要依靠設備的沖擊作用對物料進行破碎打擊。
單段錘式破碎機設備主要工作原理:

在工作時,物料進入錘式粉碎機中,遭受到高速回轉的錘頭的沖擊而粉碎,粉碎了的物料,從錘破機錘頭處獲得動能,從高速沖向架體內擋板,篩條,與此同時物料相互撞擊,遭到多次破碎,小于篩條之間隙的物料,從間隙中排出,個別較大的物料,在篩條上再次經錘頭的沖擊,研磨,擠壓而破碎,物料被錘破機錘頭從間隙中擠出。從而獲得所需粒度的產品。
單段錘式破碎機性能特點:
1.破碎力度大
單段錘式破碎機設備擁有兩套串聯的轉子將物料輸送至破碎機后進行破碎,之后再由破碎機錘頭進行再次的細碎,錘破機粉碎腔里面的物料飛速碰撞,相互粉碎,形成錘粉料,料粉碎的效果,然后直接從卸料口直接卸出,形成了出料粒度小于3毫米的物料顆粒。
2.設備生產運行
單段錘式破碎機擁有較大的破碎比能夠達到50,適用于破碎大塊物料。單段錘式破碎機生產的物料粒型良好,出料粒度均勻獲得客戶的好評。
3.設備結構簡單,維修方便
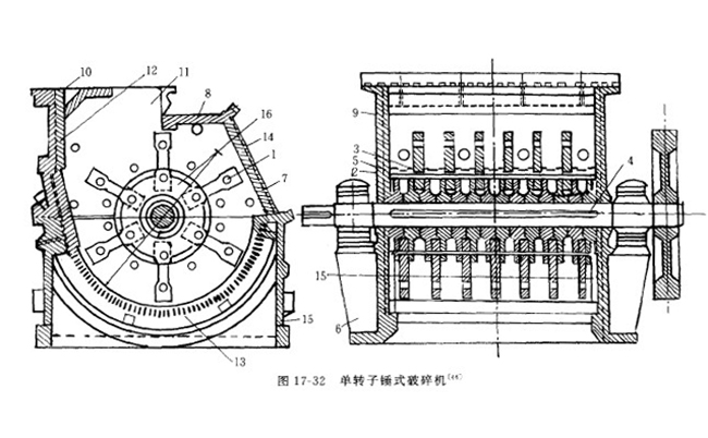
單段錘式破碎機主要由主軸、圓盤、銷軸和錘子組成。破碎生產中主要是通過錘式破碎機的錘頭及反擊板的打擊破碎將物料破碎至相應粒度。破碎機設備中有襯板和整體機殼安裝維修方便。
4.采用材料,設備使用壽命長
單段錘式破碎機使用高合金材料設備使用壽命增長,其中常見的礦山破碎設備制作材料有高錳鋼和高鉻合金材質。同時我們在易損配件上面加裝護圈,設備的錘頭使用壽命增長。
破碎生產中主要的設備單段錘式破碎機設備被廣大石料生產線老板應用;九渲萌缦拢航o料機+單段錘式破碎機+二破破碎機+振動篩+皮帶輸送機+制砂機等礦山設備。(我們有的礦山技術人員配置生產線方案,我們將根據您對物料粒度及產量場地的要求為您配置合適的生產線方案)
基本流程圖如下:

中譽鼎力礦山破碎機生產廠家及設備價格

礦山設備的生產遍地開花,中譽鼎力在礦山設備的大潮中激流勇進,進過多年的不斷探索和創產的礦山設備遠銷海外。其中在內建立的生產線案例過5000家,我們在多個省市建立有生產線案例,您有需要可以就近參觀。我們生產和銷售的礦山設備價格統一透明公道,您將會以優惠的價格購買到高質量的礦山設備。

















